索尼AI专利:让PS游戏在玩家卡关时能自动运行
索尼已获得一项全新技术专利,该技术利用人工智能(ai)实现playstation游戏的自主运行(即“游戏自己玩自己”)。


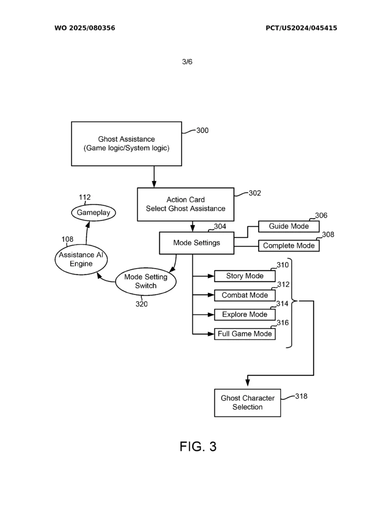
根据专利文件说明,“幽灵玩家”功能允许用户召唤一个由AI实时生成的虚拟角色——即原玩家角色的“幽灵”复刻版。该幽灵可针对性地演示某段关卡的通关路径,甚至一键完成整关流程。
这项专利最早于2024年9月递交申请,而世界知识产权组织(WIPO)本周刚刚公布了其国际阶段的最新审查报告。
举例来说,若玩家在《神秘海域》系列中被某个机关谜题难住,“引导模式”会先由AI操控内森·德雷克完整演示解法步骤,随后将控制权交还给玩家,由其亲手复现;而“完成模式”则直接接管操作,全程代打通过当前关卡。
事实上,游戏中集成辅助机制早已屡见不鲜。不少作品支持跳过战斗遭遇、动态调低难度,解谜类游戏也普遍配备提示系统(hint system),专为陷入僵局的玩家提供关键线索。
不过,部分索尼近年大作也因此引发争议。例如《战神5:诸神黄昏》就被指出解谜引导过于直白——NPC同伴常在谜题刚开启时便高声点破答案,削弱了探索与思考的乐趣。
据悉,该AI模型并非依赖开发者预先录制的操作序列,而是基于海量真实玩家的游戏录像进行训练,从而更贴近人类行为逻辑。

这一AI驱动的“幽灵玩家”系统,可视作PS5内置游戏帮助功能的智能化演进版本。该基础帮助系统随PS5主机首发上线,支持在兼容游戏中通过系统卡片(Cards)以图文或短视频形式推送攻略指引,且全程无需退出游戏界面。
尽管目前该功能尚未全面铺开,但因其免去了切换手机查攻略等额外操作,广受热衷奖杯收集的PlayStation玩家好评。

AI赋能的游戏内助手正加速渗透各大平台。去年,微软正式推出Copilot for Gaming,将其定义为“人工智能驱动的游戏伴侣”,目标是成为每位玩家专属的智能向导。
该工具初期聚焦新手友好体验。演示案例之一是:一位《我的世界》玩家向Copilot提问:“木头能用来做什么?”AI随即列出多种合成配方及用途。
另一场景中,玩家在Xbox移动App中询问:“我想重温《帝国时代4》,能帮我安装吗?”AI不仅迅速完成安装,还主动调取存档数据,提议回顾上次游戏进度中的剧情节点。
<< 上一篇
网友留言(0 条)